|
|
| 安全溢流閥 |
| 產品類別: 安全閥系列 |
|
|
產品詳細資料:
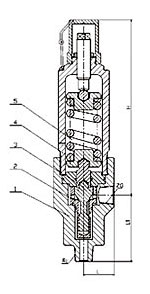
AY42H、YA802Y型安全溢流閥可用于高壓注水泵站的管路上,作為超壓保護裝置。安全溢流閥,屬于壓力控制閥。它所要解決的技術問題是既能克服通常直動式結構的閥在大流量或高壓力場合受彈簧及閥結構尺寸所限、難以使用及卸流流量對調壓偏差影響大的缺點,又能克服先導式結構的閥反應速度慢、制造成本高、使用可靠性差的缺點;同時能減輕上述兩種結構閥在開啟、關閉時的溢流特性曲線重復性差、粘滯現象嚴重等狀況,減小閥的壓力不靈敏區。解決上述技術問題的技術方案是在由閥體(1)、閥芯(2)、彈簧(4)和閥蓋(7)構成的安全溢流閥中,閥芯將閥體內腔分隔為高壓腔(8)和低壓腔(9),其特征是在高壓腔與低壓腔之間設有中間腔(10),該中間腔分別與高壓腔和低壓腔相通。
|
|
主要性能規范
|
型號 |
公稱壓力 |
開啟壓力分級 |
工作溫度(℃) |
適用介質 |
|
AY42H-160 YA802Y-160 |
16.0 |
6.3~16.0 |
200 |
水、油品等 |
|
AY42H-250 YA802Y-250 |
25.0 |
10.0~25.0 |
|
AY42H-400 YA802Y-400 YA802Y-600 |
40.0-60.0 |
20.0~60.0 |
主要零部件材料
|
NO. |
零件名稱 |
材料 |
|
1 |
閥體 |
碳鋼 |
|
2 |
閥座 |
不銹鋼 |
|
3 |
閥瓣 |
不銹鋼 |
|
4 |
閥蓋 |
焊接件 |
|
5 |
彈簧 |
50CrVA |
外形尺寸和連接尺寸
|
型號 |
公稱通徑 |
尺寸 |
|
Rc |
ZG |
L |
L1 |
≈H |
|
YA802Y-600 |
15 |
1/2" |
1/2" |
52 |
90 |
250 |
|
25 |
1" |
1" |
52 |
113 |
275 |
|
40 |
11/2" |
11/2" |
52 |
157 |
336 |
|
型號 |
公稱通徑 |
尺寸 |
|
D |
D1 |
K |
M |
Z-ød |
b |
L |
L1 |
Rc |
≈H |
|
AY42H-160
AY42H-250
AY42H-400 |
15 |
135 |
95 |
25 |
M48×2 |
4-22 |
25 |
65 |
140 |
1/2" |
329 |
|
25 |
165 |
115 |
30 |
M52×2 |
6-26 |
28 |
80 |
150 |
1" |
447 |
|
25 |
200 |
145 |
38 |
M80×3 |
6-29 |
40 |
90 |
180 |
11/2" |
485 |
|
32 |
225 |
170 |
42 |
M100×3 |
6-33 |
50 |
100 |
200 |
21/2" |
570 |
|
|